首页
产品动态
产品中心
房产门户系统
商铺管理系统
全民经纪人系统
招投标报名系统
微商城
收银软件
智慧油烟监测系统
点餐小程序
旅游管理系统
站内搜索引擎
B2B系统源码
OA办公系统
智慧社区系统
话费充值系统
智慧停车系统
防伪码溯源系统
帮助中心
模板下载
源码下载
标签制作
常见问题
视频教程
采集教程
案例中心
购买产品
联系购买
产品报价
付款方式
联系我们
当前位置:
首页
->
系统载图
热销产品
JavaCms
AspCms
站内搜索引擎
Java论坛
门户系统
AspShop
房产/楼盘系统
Asp.Net Cms
旅游系统
OA协同办公系统
微信宝
App开发
商铺管理系统
b2b系统
房地产全民营销系统
点餐小程序
招标报名系统
话费流量管理平台
防伪码系统
智慧社区管理系统
微商城
油烟监测系统
智慧收银软件
智慧停车收费管理系统
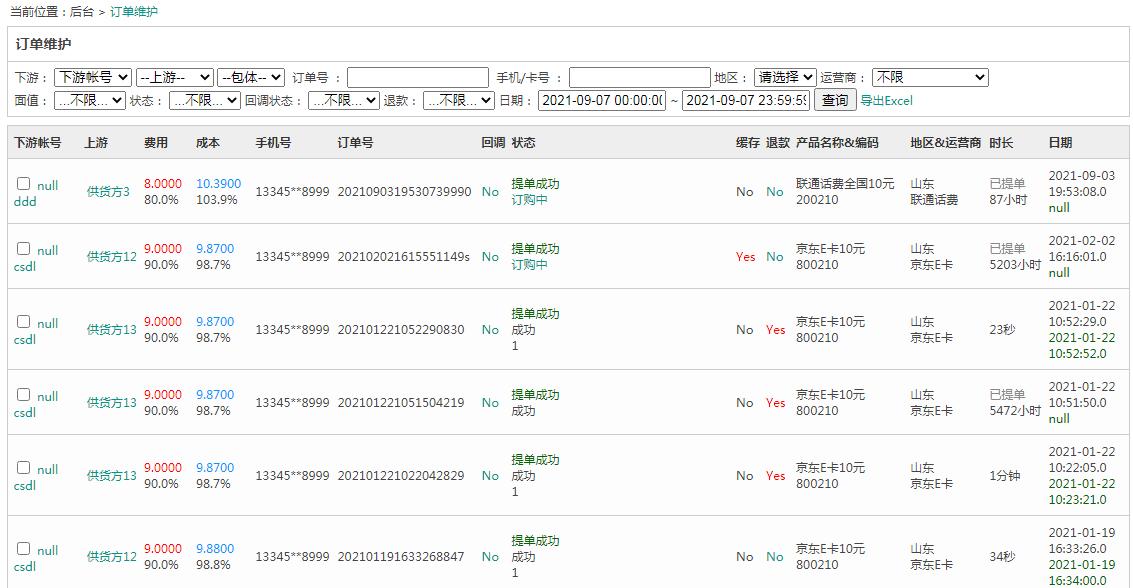
订单管理
作者:本站
日期:2021-09-07
出处:totcms
点击:
257
订单管理
支持订单缓存,优化异常处理,如因上游系统故障等问题造成提单异常,会自动标记订单为异常单。
打印本文
返回顶部
关闭窗口
相关内容
05-17
系统新增加二手房模块
06-15
山钢锦悦华府
06-15
全民营销系统成功为山钢锦悦华府提供活动推广支持
09-07
下游(代理商)管理
09-07
产品、通道管理
09-07
订单管理
09-07
财务管理
09-07
统计管理
09-07
系统管理
09-07
话费充值系统3.0版正式发布
09-08
平台对接、支持的产品类型达50余家